ネジ山クランプ式リフティングピンとは、ハルダー社(HALDER)が独自に開発した吊り具です。ボタン操作で簡単に吊り具を着脱することができるため、頻繁に着脱を行う作業に最適です。アイボルトに比べて作業時間を約85%短縮すること出来ます。

航空機にも使われるボールロックピンの機構を応用しておりますので、安全に対しての高い信頼性があります。2種類のタイプがあり、鋼球4個で貫通穴の端面部を保持するボールタイプと、ピン側面のネジ山でネジ穴をクランプするネジ山タイプがあります。

形状は、スリング等で吊り上げられる様にシャックルがピン本体上部についており、重荷重に耐えられる構造となっています。取付時は、シャックルを傾けて、ピン上部のボタンを押しながら、吊下げるワークのネジ穴にリフティングピンを差し込みます。首下まで差込んでボタンを離します。首下の隙間が無くなるまでネジ山クランプ式リフティングピンをネジ穴にねじ込みロック(クランプ)します。シャックルを元に戻すと、ボタンがガードされて、吊り下げ時にロックがリリースされることはありません(垂直方向時)。取外し時は、ネジ穴から緩めてボタンを押しながら引き抜きます。

その他の類似製品には、ボールロックピン、フライトピン、クランプロックピン、ソケットピンなどのロックピンがあります。
従来の吊り具
従来の吊り具には、吊り荷に巻き付けて使用するスリングや、ネジ穴を使用するアイボルトなどがありますが、これらの吊り具の取付け・取外し作業には時間が掛かります。また着脱作業が簡単なワンタッチな吊り具もありますが、ロック(クランプ)をボタンで解除でする機構を持つ安全性の高い吊り具はハルダーのリフティングピンだけです。
導入によるメリット
- アイボルトの着脱時間を約85%短縮
- 作業効率の改善
- 生産性の向上
- 作業者の負担軽減

製品の特長
ハルダー(HALDER)が開発したネジ山クランプ式リフティングピンは、吊り荷に対して、ワンタッチ操作で着脱できる、画期的な構造を採用しています。ネジ山クランプ式リフティングピンはワークのネジ穴を利用して簡単に着脱作業を行うことができます。
ネジ山クランプ式リフティングピンの動作原理については、動画タブの各動画をご覧ください。
特長
・着脱作業時間を約85%短縮
ネジ山クランプ式リフティングピン本体に設置されたボタン操作によって、ワンタッチで吊り荷からリフティングピンを着脱する事ができます。通常のアイボルトと比較して着脱時間を約85%短縮することが可能です。作業効率の向上・作業者の負担を軽減します。
・吊り具のねじれ解消(スイベル式)
通常のアイボルトで横吊りをした場合に適切な角度にあわせて吊ることが難しく、ボルトの緩み・破損の危険がありました。スイベル式リフティングピンを使用すると、シャックルが360度回転するため適切な角度でワークを吊ることができます。
・高い安全性と品質
ネジ山クランプ式リフティングピンは第三者機関TÜVでの認証を受けCE宣言をしている安全性の高い製品です。
・安全率5
安全係数は5で設計されています。
・豊富なサイズ
ネジ山クランプタイプはM8~M30を取り揃えております。吊り荷のネジ穴サイズに合わせて選んでいただくことができます。
またインチサイズもご用意しております。
・材質は2種類
材質は、熱処理鋼とステンレス鋼(SUS630相当)の2種類から選択できます。
ステンレス鋼は耐食性に優れています。

吊り具
リフティングピンは、堅牢で頑丈な吊り具として、クレーン作業や、手作業による重量物の移動に素早く簡単に使えます。本製品は、世界的に有名な認証機関TÜVで耐摩耗、対候性の認証を受けています。
ネジ山クランプ式リフティングピン
TÜVで認証されたネジ山クランプ式リフティングピンは、可動シャックルがついた堅牢な吊り具で、素早く簡単に使えます。ネジ山クランプ式 リフティングピンは、シャックルピンとも呼ばれます。重量物を吊り下げる本製品は、クレーン作業にも使えます。
本吊り具製品は、ネジ穴に挿入して使います。
本製品は、色々なタイプを標準品として在庫しています。
■ 鋼/ ステンレス鋼(屋外での使用に最適)
■ シャックル付
■ 最大2,000kgの耐荷重
特殊なアプリケーション向けにカスタム製品を製作することも可能です。
製品仕様
ネジ山クランプ式リフティングピン(スイベルタイプ)
シャックルが360度回転するのでボルトの緩み・変形を防止します。

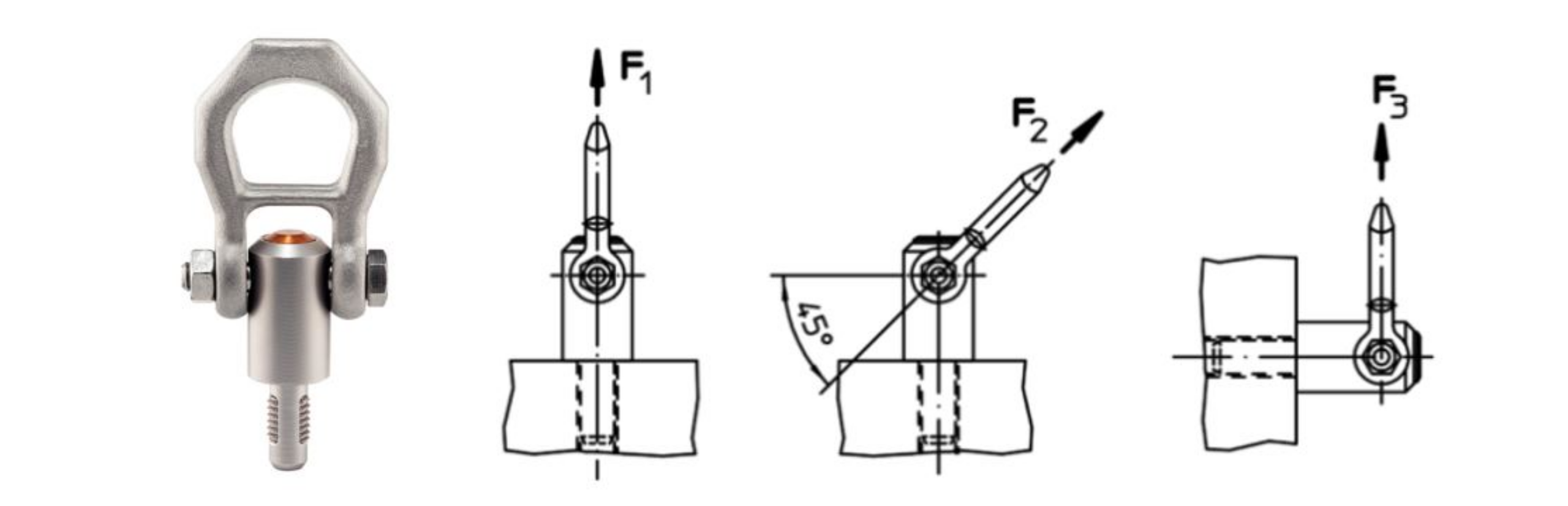
対応ネジサイズ
(並目) |
最大荷重F1
(鉛直方向) |
最大荷重F2
(45°方向) |
最大荷重F3
(横方向) |
製品番号(ピン部材質) |
| M8 |
2.1kN |
0.9kN |
0.8kN |
22353.0008(熱処理鋼)
22353.1008(SUS) |
| M10 |
3.9kN |
1.5kN |
1.5kN |
22353.0010(熱処理鋼)
22353.1010(SUS) |
| M12 |
6.2kN |
2.5kN |
2.3kN |
22353.0012(熱処理鋼)
22353.1012(SUS) |
| M16 |
8.4kN |
4.5kN |
4.2kN |
22353.0016(熱処理鋼)
22353.1016(SUS) |
| M20 |
16.6kN |
7.7kN |
5.0kN |
22353.0020(熱処理鋼)
22353.1020(SUS) |
| M24 |
18.0kN |
11.1kN |
8.6kN |
22353.1024(SUS) |
| M24 |
18.5kN |
11.1kN |
8.6kN |
22353.0024(熱処理鋼) |
商品の詳細はこちら
*HALDERの製品サイトが表示されます
ネジ山クランプ式リフティングピン(標準タイプ)
アイボルトの代わりに使用することができます。

対応ネジサイズ
(並目) |
最大荷重F1
(鉛直方向) |
最大荷重F2
(45°方向) |
最大荷重F3
(横方向) |
製品番号(ピン部材質) |
| M8 |
2.1kN |
0.9kN |
0.8kN |
22352.0008(熱処理鋼)
22352.1008(SUS) |
| M10 |
3.9kN |
1.5kN |
1.5kN |
22352.0010(熱処理鋼)
22352.1010(SUS) |
| M12 |
6.2kN |
2.5kN |
2.3kN |
22352.0012(熱処理鋼)
22352.1012(SUS) |
| M14 |
7.8kN |
4.2kN |
2.9kN |
22352.0014(熱処理鋼) |
| M16 |
8.4kN |
4.5kN |
4.2kN |
22352.0016(熱処理鋼)
22352.1016(SUS) |
| M20 |
16.6kN |
7.7kN |
5.0kN |
22352.0020(熱処理鋼) |
| M20 |
10.0kN |
7.7kN |
5.0kN |
22352.1020(SUS) |
| M24 |
23.0kN |
11.1kN |
8.6kN |
22352.0024(熱処理鋼)
22352.1024(SUS) |
| M27 |
33.8kN |
15.7kN |
13.7kN |
22352.0027(熱処理鋼) |
| M30 |
42.3kN |
21.5kN |
15.5kN |
22352.0030(熱処理鋼) |
商品の詳細はこちら
*HALDERの製品サイトが表示されます
ネジ山クランプ式リフティングピン(センター穴タイプ)
センター穴加工(DIN332)がされているのネジ穴に使用。

対応ネジサイズ
(並目) |
最大荷重F0.9kN1
(鉛直方向) |
最大荷重F2
(45°方向) |
最大荷重F3
(横方向) |
製品番号(ピン部材質) |
| M8 |
2.1kN |
0.9kN |
0.8kN |
22352.2008(熱処理鋼)
22352.3008(SUS) |
| M10 |
3.9kN |
1.5kN |
1.5kN |
22352.2010(熱処理鋼)
22352.3010(SUS) |
| M12 |
6.2kN |
2.5kN |
2.3kN |
22352.2012(熱処理鋼)
22352.3012(SUS) |
| M16 |
8.4kN |
4.5kN |
4.2kN |
22352.2016(熱処理鋼)
22352.3016(SUS) |
| M20 |
16.6kN |
7.7kN |
5.8kN |
22352.2020(熱処理鋼) |
| M20 |
10.0kN |
7.7kN |
5.8kN |
22352.3020(SUS) |
| M24 |
23.0kN |
11.1kN |
8.6kN |
22352.2024(熱処理鋼)
22352.3024(SUS) |
商品の詳細はこちら
*HALDERの製品サイトが表示されます
【注意事項】
製品のお取扱いについては、安全のために必ず取扱説明書の指示に従いご使用ください。
製品に衝撃力(落としたり、他のワークに打ち当てる等)が負荷された場合には破損の原因なりますので、衝撃的な力が負荷されないように十分にご注意ください。
耐荷重の値は、鋼鉄製ワークにのみ適用となっており、銅、真鍮、アルミニウムなどの非鉄金属製のワークには適用されません。
非鉄金属製のワークにリフティングを使用する場合には、使用者は使用前に耐荷重試験を行い安全に問題が無い事を確認する必要があります。金属以外、コンクリートや木製のワークにリフティングピンを使用する場合には、特別な専用ブッシュを使用しかつ使用者は使用前に耐荷重試験を行い安全に問題が無い事を確認する必要があります。
【お見積もりに関して】
お見積もりにつきましては、シリーズ(スイベルタイプ(EH 22353.)、標準(EH 22352.)、センター穴(EH 22352.))、ネジサイズ、材質、および本数をご確認の上、代理店または弊社までお問い合わせください。
動画
■シャックルが360度回転するネジ山クランプ式リフティングピンの動画です。
■実際にリフティングピンを使用してプレートを吊っている動画です。
■アイボルトとリフティングピンの着脱の違いを説明した動画です。
■リフティングピン(ボールロックタイプとネジ山タイプ)のアニメーション動画です。
■ネジ山クランプ式リフティングピンの点検の実例動画です。
採用例
■ワークや治具の運搬
アイボルトの着脱時間を大幅に短縮できます。

カスタム品についても対応しております。なお、カスタム品は安全認証の対象外となります。
■ネジ山クランプ式リフティングピンの吊り荷質量参考表
吊り荷質量の参考表は以下の画像をクリックするとダウロードできます。
*参考表の数値は使用条件によって変わりますのでご注意ください。
製品に関するお問合せはロームヘルド・ハルダー(株)までお問い合わせください。
関連製品
リフティングピン(ボールロックタイプ)
通し穴に使用するタイプです。
通し穴については、ボールを引っ掛ける肩部が必要になります。繰返しのご使用の場合には、
専用のスリーブをご利用ください(治具プレートや金型等)。

製品サイトはこちら